Электротехническое оборудование в Великом Новгороде
Наша организация КОМЕТА-С занимается производством зарядных, пуско-зарядных устройств, зарядно-разрядных шкафов...
Компания TERMO53 специализируется на производстве оборудования для термоформинга.
Доброго времени суток!Печь для моллирования стекла с формами,программы писать научу, суть объясню! Хороший маленький бизнес
Компания TERMO53 специализируется на производстве оборудования для термоформинга.
Продам автоматические выключатели в идеальном состоянии цена и информация по запросу.
Продам автоматические выключатели 100А. Маркировка на фото- 2шт. Новые в упаковке.
Well sp 320-5. Несколько штук в наличии. Вопросы по WhatsApp. 89219842078
Продам трмформаторную подстанцию ктпто-80 с кабелем подключения 50м.
В продаже новые уличные светильники 40Вт. Гарантия 1год.
Новый в коробке Вид товаров Преобразователь частоты Серия VFD VF 51 Номинальная мощность ? 0.
продам xbox стояние отличное пользовался 2 недели,продам с аккаунтом на котором имеется-FC24 GTA 5 онлайн и сюжетная была...
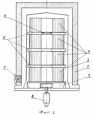
продается электропечь ионная колпаковая вакуумная НВГ-6,6/6 ИI
Сдам в аренду, продам или обменяю на дом здание 70 кв м бывщая котельная требует ремонта.
Продам аппарат для измерения давления, В ОТЛИЧНОМ СОСТОЯНИИ, покупали за 4000, продам за 2000.
отличное состояние . Пробег минимальный . Использовался на небольшой подкачке к швейным роботам Сантони.
Продам бензогенератор Метеор 6500 Покупал в августе 2015 года для строительства дачного дома.
Многофункциональный прибор для измерения переменного тока, без разрыва самой сети.
Площадочный электрический вибратор Красный Маяк ИВ 99Б 380 В, новый в упаковке.
Продается трансформаторная подстанция сельхозного типа КТП-6/0,4 кВ мощностью 250 ква на три отходящие линии, в комплекте с...
Галетный переключатель ПВ2-10, россыпь, отл.состояние, с хранения. 180 штук.
Высоковольтные токоизмерительные клещи Ц4501 предназначены для измерений тока без разрыва цепи и напряжения в низковольтных...
Трансформатор ТП-118-(3,5 Вт)- любые выходные параметры в пределах мощности типоразмера, частота сети 50, 400, 1000 Гц На...
Сетевые адаптеры( Источники электропитания) Любые выходные параметры в пределах полезной мощности.
ОАО СПЕКТР г. Великий Новгород производит трансформаторы (1,5-350Вт), магнитопроводы (50 Гц, 400, 1000 Гц), блоки питания...
Дроссели (Др-) на частоту сети 50,400,1000 Гц Дроссели(Др-) на частоту сети 50, 400, 1000 Гц на конструктиве выпускаемого...
Добрый день, хотел бы приобрести Контролле Curtis PMC 48-80V 600A 1221-6A703 в кол-ве двух штук.
Продам колонку martin audio c6 8t. Для ценителей качественного звука ,акустика премиум класса практически новая.
ОАО "Спектр" продает со склада производителя печи электронагревательные ПЭТ "Спектр-3" мощностью 1,6 кВт и предназначенные...
Автоматическое зарядное устройство для автомобильных аккумуляторов,127ампер,выходное напряжение до 16В ,зарядку производит...
Наши светодиодные светильники абсолютное разнообразие форм и размеров - потолочные, настенные, уличные, встраиваемые и...
Посмотреть объявления в категории — Электротехническое:
В Великом Новгороде и Новгородской области — Электротехническое
По всей России — Электротехническое










